A Huawei apresentou ao mundo o smartphone dobrável Mate X pela primeira vez em fevereiro do ano passado. No entanto, este dispositivo só foi lançado até setembro e apenas em quantidades limitadas devido aos desafios de produção em massa. Agora esta gigante tecnológica está a preparar um sucessor para este dispositivo, o Huawei Mate X2 e a patente pode mesmo ter acabado de chegar à Internet.

Huawei Mate X2: o dobrável da Huawei que não esquece a caneta

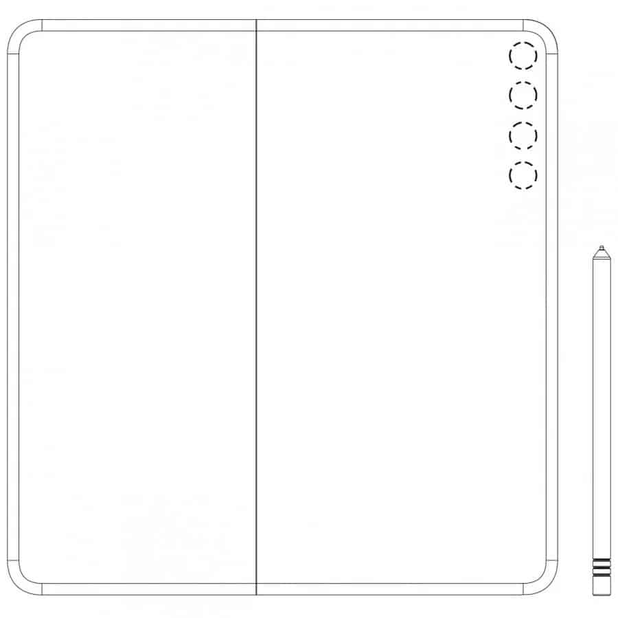
A patente foi registada no Escritório de Propriedade Intelectual da União Europeia (EUIPO) para um novo smartphone dobrável. Dito isto, a descrição e os esquemas mostram que o dispositivo virá com suporte para Stylus. Entretanto, a patente descreve um fator de forma semelhante ao Mate X de primeira geração, mas existem algumas diferenças.

A diferença mais espetacular é que este smartphone patenteado utiliza um design dobrável para dentro enquanto o Mate X dobra para fora. Outro aspecto interessante é a configuração da câmara. Entretanto, este dispositivo possui uma instalação impressionante de seis câmaras em comparação com as quatro câmaras que estão presentes no Mate X. Dois dos sensores estão alojados na parte frontal, alojados na barra lateral vertical, e quatro na parte traseira.

A barra lateral parece diferente da do Mate X. Dito isto, revela o ecrã secundário e abriga a caneta.

De facto, parece uma abordagem muito interessante e sinceramente acho que protege muito mais o dispositivo do que a abordagem do primeiro equipamento. Embora ache o Huawei Mate X um smartphone muito interessante, sempre me fez confusão termos o ecrã do lado de fora, especialmente sendo um dobrável. É que tenho a certeza que não demoraria muito a ficar danificado.

Com o ecrã por dentro, num esquema semelhante ao do Galaxy Fold, o dispositivo e sobretudo o painel está mais protegido. Assim, no caso de haver algum risco ou afins por o colocarmos nalguma superfície menos aconselhável é a parte de dentro que sofre.

Fonte

Acompanhe ao minuto as últimas noticias de tecnologia. Siga-nos no Facebook, Twitter, Instagram! Quer falar connosco? Envie um email para [email protected].


Sobre Gerência Imóveis

A primeira plataforma que conecta o proprietário à imobiliária e/ou corretor de imóveis com o foco em potencializar as vendas e torná-las mais seguras maximizando o tempo do corretor.